Stocker Stahl AG Logo

STOCKER PRO Schmutzfänger

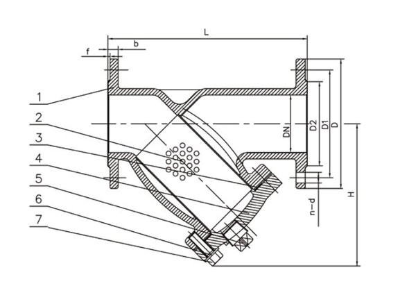
Beschreibung:

Temperaturbereich: -10°C bis +200°C

Einbaulage: horizontal oder vertikal mit absteigender Fließrichtung

Produktmerkmal: Flansch-Schmutzfänger aus Grauguss in Y-Bauart mit Verschlusstopfen und herausnehmbarem Edelstahlfilter, horizontaler oder vertikaler Einbau.

Druck: PN16

Downloads:

PDF file format symbol - Free interface iconsTechnische Angaben